Ticker

6/recent/ticker-posts

Advertisement

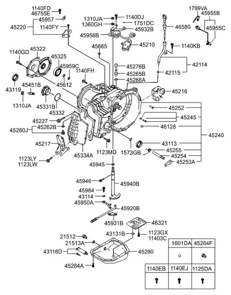
eBook Hyundai Accent Manual Transmission Diagram

At present you are looking for an Hyundai Accent Manual Transmission Diagram example that we provide here within some type of document formats such as PDF, Doc, Strength Point, and in addition images that will make it easier for you to create an Hyundai Accent Manual Transmission Diagram yourself. For a clearer look, you can open a few examples below. Each of the examples about Hyundai Accent Manual Transmission Diagram with this site, we get from several sources so you could create a better file of your own.

When the search you acquire here does not match up what you are searching for, please utilize the lookup feature that we possess provided here. You are usually free to download anything that we provide in this article, it will not cost you typically the slightest.

DOWNLOAD HERE

Everybody knows that reading Hyundai Accent Manual Transmission Diagram is useful, because we could get too much info online from your resources. Technology has developed, and reading Hyundai Accent Manual Transmission Diagram books could be easier and simpler. We can read books on our mobile, tablets and Kindle, etc. Hence, there are numerous books coming into PDF format.

Several websites for downloading free PDF books to acquire as much knowledge as you would like. Nowadays everybody, young and old, should familiarize themselves with the growing eBook business. Ebooks and eBook readers provide substantial benefits more than traditional reading. Ebooks reduce down on the use of paper, as recommended by environmental enthusiasts. Presently there are no fixed timings for study. There will be no question of waiting-time for new editions. Presently there is no transportation in order to the eBook shop. The books at an eBook shop can be downloaded immediately, sometimes for free, at times for a fee.

Not just that, the online edition of books are typically less expensive, because publication residences save on their print plus paper machinery, the benefits of which are given to to customers. Further, typically the reach of the e-book shop is immense, allowing an individual living in Australia to source out in order to a publication house within Chicago. The newest craze in the online e-book world is what are called eBook libraries, or e-book packages. An eBook package is something unusual. That consists of a large number of ebooks included together that are not readily available at one single place. So instead associated with hunting down and acquiring, say 100 literary classics, you can purchase an eBook package which contains all these types of ebooks bundled together. These kinds of eBook libraries typically offer you a substantial savings, plus are usually offered within a variety of formats to match your brand of electronic reading device. Large companies, such because Amazon or Barnes and Noble, tend to not carry these eBook libraries. If you want in order to buy one of these libraries, you will have in order to search out independent eBook shops. These independent eBook shops typically package the e-book libraries by genre, plus have an assortment of genres.